GB 45834-2025 警用防弹衣 ,该文件为pdf格式 ,请用户放心下载!
尊敬的用户你们好,你们的支持是我们前进的动力,网站收集的文件并免费分享都是不容易,如果你觉得本站不错的话,可以收藏并分享给你周围的朋友。
如果你觉得网站不错,找不到本网站,可以百度、360搜搜,搜狗, 神马搜索关键词“文档天下”,就可以找到本网站。也可以保存到浏览器书签里。
收费文件即表明收集不易,也是你们支持,信任本网站的理由!真心非常感谢大家一直以来的理解和支持!
资源简介
以下是《GB 45834-2025 警用防弹衣》国家标准的主要内容总结,按文档结构分类呈现:
一、标准基础信息
- 标准编号与名称
- GB 45834-2025《警用防弹衣》(Police ballistic resistance of body armors)。
- 适用范围
- 适用于警用防弹衣的研发、生产、检验和验收。
- 引用文件
- 核心引用标准包括:
- GB/T 250(纺织品色牢度)
- GB/T 4744-2013(纺织品防水性能)
- GB/T 44951-2024(防弹材料V50试验方法)
- GA 261(警服规范)。
- 核心引用标准包括:
二、术语与定义
- 核心概念
- 警用防弹衣:吸收弹头能量、阻止穿透、减轻钝伤的装备,含外套、防弹层部件、插板及附件。
- 防弹层部件:含防弹层(吸收能量)、缓冲层(减轻钝伤)及保护套。
- 弹击面(弹头冲击面)与贴身面(接触身体面)。
- 背衬凹陷深度(BFS):弹头阻断后在模拟人体材料上的凹陷深度(图2)。

- 入射角:弹头方向与弹着点切面法线的夹角(图1)。

三、产品分类与代号
- 防护等级(表1)
- 分10级(1级至6A级),每级对应特定枪弹类型、弹头质量、速度及结构。
- 示例:
- 等级6A:DBP95式5.8mm普通弹(钢心),弹速950±10 m/s。
- 分类
- 防弹衣:按材质分软质(R)、硬质(Y)。
- 防弹插板:分金属(J)、非金属(F)。
- 代号规则
- 防弹衣:
FDY[等级][材质]-[企业代号][型号](如FDY4BY-AB02)。 - 防弹插板:
- 组合式:
FDY[基础等级]C[增强等级][材质]-[企业代号][型号] - 独立式:
FDB[等级][材质]-[企业代号][型号]
- 组合式:
- 防弹衣:
四、技术要求
- 通用要求
- 结构完整(图3),无毒无味,穿戴灵活,外套与防弹层可分离。

- 结构完整(图3),无毒无味,穿戴灵活,外套与防弹层可分离。
- 外观与标识
- 外套无破损;防弹层无裂痕、毛刺;永久性标识含企业信息、等级、生产日期等。
- 性能指标
- 颜色:藏蓝色(符合GA 261),色差≥4-5级(GB/T 250)。
- 防护面积:躯干≥0.25 m²;防弹插板≥0.075 m²。
- 防弹性能:阻断弹头且BFS≤25mm(测试条件见表2)。
- 环境适应性:
- 耐浸水(30min后性能达标);
- 温度(-25℃~55℃、70℃湿热240h后性能达标)。
- 弯曲度(软质):弯曲25mm时力≤200N(附录B)。
- 抗跌落(硬质/插板):1.42m跌落至水泥板后性能达标(附录C)。
五、试验方法
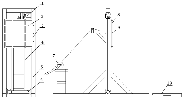
- 防弹性能测试(附录A)
- 设备布置(图A.1)、弹着点位置(图A.2)、背衬凹陷深度测量。

- 设备布置(图A.1)、弹着点位置(图A.2)、背衬凹陷深度测量。
- 弯曲度测试(附录B)
- 专用设备(图B.1)以250mm/min速度加压。
- 抗跌落测试(附录C)
- 模拟人体跌落(图C.1),撞击后检验防弹性能。

- 模拟人体跌落(图C.1),撞击后检验防弹性能。
- 安全评估(附录D)
- 通过弹道极限V50、V0计算评估防护可靠性。
六、检验规则
- 型式检验
- 适用场景:新产品定型、材料/工艺变更、停产复产等。
- 项目覆盖全部技术要求(表3),样品量:防弹衣7件,插板14块。
- 交收检验
- 抽样规则:按批量(≤500件抽3件;≥1001件抽12件)。
- 不合格处理:防护面积/防弹性能不合格即判批不合格;其他项可复检。
七、质量保证与包装贮存
- 质量保证
- 使用年限≥8年;防弹插板需与同型号防弹衣组合使用(禁止混用)。
- 包装要求
- 外箱标志清晰(含“防潮”标识);内附合格证、保险单及说明书。
- 运输与贮存
- 运输:防雨防潮,禁与腐蚀物混运。
- 贮存:通风干燥,避光离地≥250mm。
八、关键图示汇总
| 图号 | 内容说明 | 用途 |
|---|---|---|
| 图1 | 入射角定义 | 弹道测试基准 |
| 图2 | 背衬凹陷深度 | 防弹性能指标 |
| 图3 | 防弹衣结构 | 产品组成示意 |
| 图A.2 | 弹着点分布 | 射击试验定位 |
| 图B.1 | 弯曲度设备 | 软质防弹衣测试 |
| 图C.1 | 抗跌落设备 | 硬质产品耐用性测试 |
此标准系统规范了警用防弹衣的技术要求、测试方法及质量管控流程,为研发、生产和验收提供权威依据。

评论